YAESU FT-107M
Der Ft-107M; Tranceiver erschien um 1980 auf dem Markt und ist volltransistoriert.
Eigentlich als 13,8V TRX erschienen, läßt sich ein optionales Netzteil für 220V nachrüsten.
Weitere Optionen waren ein Modul für die Speicherung von 12 Frequenzen und
die Bestückung mit WARC Bändern.
Die reichliche Ausstattung umfasst dabei auch ein manuelles Notch- und ein Peakfilter,
sowie einen Sprachprozessor.
Auch umfangreiche Erweiterungsmöglichkeiten hatte der FT-107M.
So gab es folgende Zusatzgeräte:
FC-107 Antennentuner mit Power- und SWR-Meter
FP-107 Extra starkes Netzteil mit intergriertem Lautsprecher
SP-107 separater lautsprecher mit Optionen und Anzeigen für phone patch
FV-107 separater VFO
FTV-107 Transverter für 2m oder 6m plus 70cm, speziell für Satellitenbetrieb
Technische Daten:
| Modulationsarten: |
AM/SSB/CW/FSK |
| HF-Ausgangsleistung: |
100W (min.) |
| Frequenzbereich: |
1,5-2 MHz |
|
3,5-4 MHz |
|
7-7,5 MHz |
|
14-14,5 MHz |
|
21-21,5 MHz |
|
28-30 MHz in 3 Teilbereichen |
|
WARC Bänder optional |
| Antennenimpedanz: |
50 Ohm |
| Frequenzstabilität: |
nach Aufwärmung xxx Hz in 30 min. |
| Empfängerempfindlichkeit: |
0,3 µV bei 12dB SINAD |
| NF-Ausgangsleistung: |
2 W |
| Gewicht: |
12,5 kg |
| Abmessungen BHT: |
334 x 129 x 400 mm |
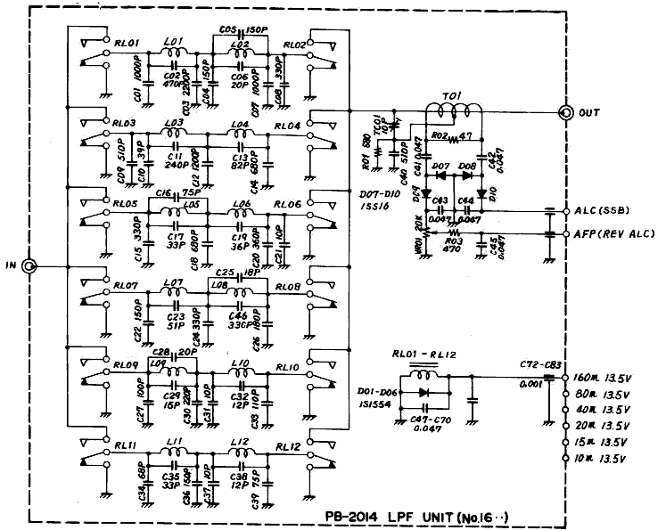
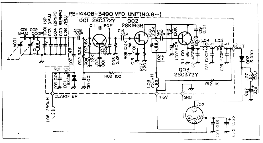
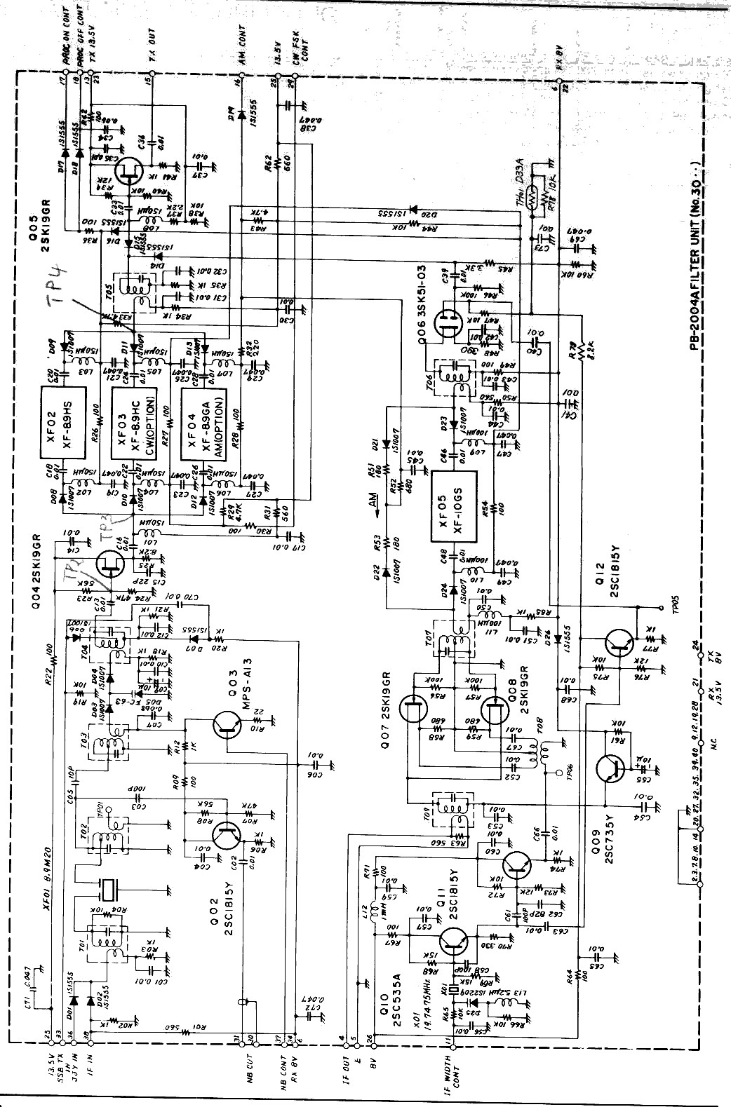
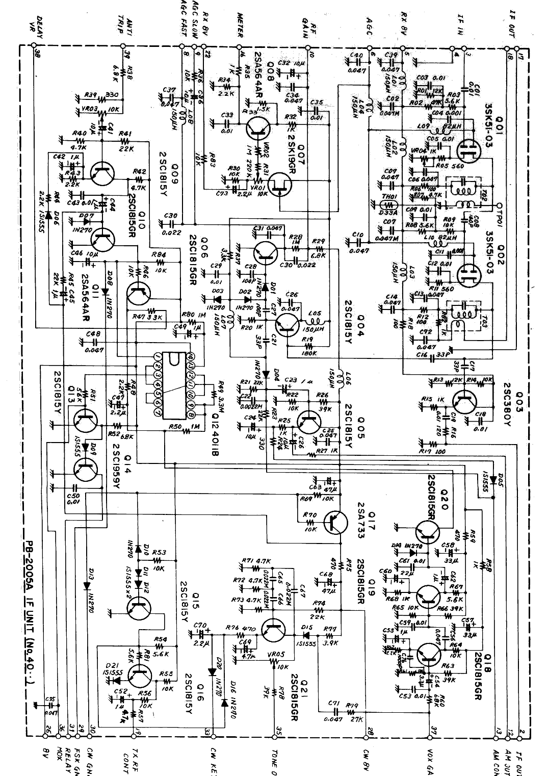
FT-107M Schaltpläne / schematics
Um den Schaltplan ( Schaltpläne ) zu sehen, einfach auf die Links unter dem Foto klicken.
Um den Schaltplan ( Schaltpläne ) dann zu speichern, mit der rechten Maustaste auf das Schaltbild ( Schaltbilder ) klicken
und "Bild speichern unter..." wählen. ( save picture as ... )
hier ein paar Prospektfotos vom dem KW-TRX Yaesu FT-107M:


Bitte klicken Sie auf das folgende Bild um es in einem neuen
Fenster in voller Größe zu sehen.


|